找回密码
 立即注册
查看: 1699|回复: 6

【已建议送实验箱】陈教授单片机授课心得

[复制链接]

2

主题

6

回帖

54

积分

注册会员

积分
54
发表于 2023-7-19 16:58:16 | 显示全部楼层 |阅读模式
本帖最后由 8051启蒙者 于 2023-8-16 17:02 编辑

这是我听陈教授讲授的第一节课,老师讲的简单易懂。
他一开始说了学习单片机需要用到c语言和数学逻辑与电路基础,刚好我所在的专业里教过一些相关的知识,以至于上课不会稀里糊涂。

后来陈教授又给我们讲了二进制.十进制以及十六进制之间怎么互相转化,让我又复习了一遍。
陈教授这节课现场编了一个LED灯闪烁的程序,使得我对单片机更加的好奇。
理论和实践是相互的,陈教授又给我们科普了单片机的基本概念,单片机的生产厂商和他们的典型产品,我么能更加充分的了解到单片机的重要性。
虽然我在单片机这方面仍然是一个小白,但是我希望能跟着陈教授的教授更好地学习单片机,了解更多关于单片机的知识。
回复

使用道具 举报 送花

  • 打卡等级:常住居民III
  • 打卡总天数:133
  • 最近打卡:2025-12-13 08:40:51

37

主题

1352

回帖

3350

积分

超级版主

积分
3350
发表于 2023-7-20 14:19:50 | 显示全部楼层
本帖最后由 STCAI-32位8051 于 2023-7-20 14:20 编辑

小伙伴继续加油!
   除每周三下午,14: 00 ~ 16:00 山东大学陈教授《STC最新8051单片机原理及应用-STC8H8K64U》0基础线上课程以外;
  2023/7/25, 下周二, 14:00 ~ 17:00;7/28, 周五, 14:00 ~ 17:00 开始,新加入北京化工大学,何宾教授《STC32位8051单片机原理及应用-STC32G12K128》线上课程,请小伙伴多多关注!
1.png

【新提醒】从8051进入32位8051世界,何宾教授带大家一起穿越 ,腾讯会议,7/25开始 - 《单片机原理及应用》教学改革及实践研讨会,实战技术交流会,会务通知 - 国芯论坛-STC全球32位8051爱好者互助交流社区 - STC全球32位8051爱好者互助交流社区  https://www.stcaimcu.com/forum.p ... &extra=page%3D1

STC官网:https://www.stcai.com/
QQ:2593903262
微信号:18106296598
回复

使用道具 举报 送花

2

主题

6

回帖

54

积分

注册会员

积分
54
发表于 2023-8-1 19:53:42 | 显示全部楼层
7月26日
陈教授第二讲
1.数字逻辑与基本数字电路     陈教授介绍了逻辑电平,上升沿和下降沿,基本逻辑运算(逻辑与Y=A*B,逻辑或Y=A+B,逻辑非等)
2.单片机的应用场景       陈教授先讲了单片机的特点:1.集成度高,体积小   2.功耗低    3.可靠性高    4. 价格低廉
然后讲了应用场景:包括1.智能仪器仪表  2.工业农业实时监控   3.计算机网络和通信领域等等
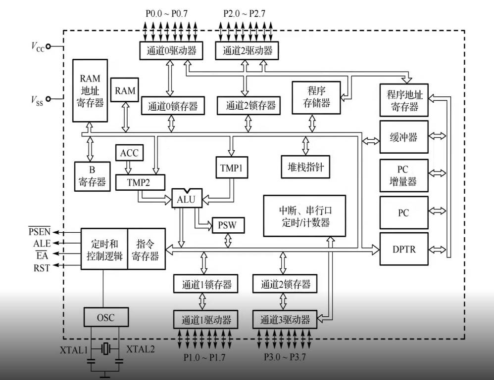
3.单片机的内部结构   首先要了解微型计算机的框架结构,然后学习传统8051单片机的内部结构,总之我是看得不是特别明白,听得糊里糊涂的。
CPU由运算器和处理器组成,陈教授主要讲了运算器的PSW,PSW的位地址从D0到D7,字节地址是D0。
STC8H8K64U单片机片内有三个互相独立的存储器空间:程序Flash存储器,内部数据存储器和扩展数据存储器
最后讲了程序存储器和数据存储器
微型计算机.png
传统8051单片机的内部结构.png
单片机的内部结构.png
QQ截图20230801190842.png
存储器.png
回复

使用道具 举报 送花

2

主题

6

回帖

54

积分

注册会员

积分
54
发表于 2023-8-9 21:16:31 | 显示全部楼层
8月2日
陈教授第三讲
1.存储器空间和存储器    单片机的功能就是通过特殊功能寄存器的设置实现的
2.单片机的引脚    1.LQFP64封装 2.PDIP40封装  3.引脚:(1)电源引脚(2)外接晶体引脚(3)控制和复位引脚(4)I/O引脚   大多数I/O口线具有复用功能,一共有p1-p7七个口,每个口的功能各有不同
3.单片机应用系统的典型构成   分为2种
陈教授还讲了必须要学习汇编语言,仅仅只是C语言不够,那看来我还得在这方面去继续努力
(1)设置起始地址ORG(2)定义字节DB(3)定义字DW(4)为标号赋值EQU(5)DATA指令(6)XDATA指令(7)定义位命令BIT(8)文件包含指令INCLUDE
引脚1.png
引脚2.png
构成.png
构成非.png
4种工作模式.png
主要作用.png
回复

使用道具 举报 送花

2

主题

6

回帖

54

积分

注册会员

积分
54
发表于 2023-8-13 15:21:51 | 显示全部楼层
8月7日
陈教授第四讲
1.助记符语言
为了解决机器语言不直观,不易识别、理解和记忆的缺点,引入了助记符。
汇编语言的指令通常由操作码和操作数组成。
操作码是指令功能的英文缩写。

操作数是一条指令操作的对象。可以是数据,也可以是地址。

2.
汇编语言的格式:[标号:]操作码助记符[第一操作数][,第二操作数][,第三操作数][:注释]
操作码助记符表示了指令的功能,操作数表示指令操作的对象。

指令代码的存储格式:
将8位二进制表示为一个字节
8051单片机的指令长度有三种:
1.单字节指令:RET
2.双字节指令:MOV A,#0FH
3.三字节指令:MOV 74H,#08H

指令中的符号约定

3.
寻址方式:7种
1.立即寻址:指令中的源操作数是立即数。
2.寄存器寻址:指定寄存器的内容为操作数,对寄存区ACC、B、DRTR、CY寻址时,具体的寄存器已隐含在其操作码中。
3.直接寻址:指令中包含了操作数的地址,可访问三种地址空间
(1.)特殊功能寄存器SFR,唯一方式
(2.)内部数据RAM中的00H-7FH的128个字节单元
(3.)位地址空间
4.寄存器间接寻址:指令指定某一寄存器的内容作为操作数地址
5.变址寻址:由指令指定的偏移量寄存器和基址寄存器DPTR或PC相加所得结果作为操作数地址
第一类用PC作基地址寄存器加上累加器A的内容形成操作数的地址A+PC
第二类变址寻址使用DPTR作基地址寄存器,加上累加器A的内容形成操作数的地址A+DPTR
6.相对寻址:主要用于相对跳转指令
7.位寻址:8051单片机的主要特点,可以对位地址空间的每一位进行运算和传送操作

数据传送类指令:
1.传送指令--MOV
2.外部数据存储器与累加器A传送指令--MOVX
3.程序存储器向累加器A传送指令--MOVC
4.数据交换指令
(1.)字节交换指令
(2.)半字节交换指令
5.栈操作指令

逻辑操作类指令:
包括与、或、清除、求反、左右位移等24条
1.对累加器A进行逻辑操作

2.双操作数的逻辑指令

算术运算类指令:
加、减、乘、除四则运算,以及增量、减量和二十进制调整操作
1.加减运算指令
(1.)加法指令
(2.)带进位加法指令
(3.)带错位减法指令
2.乘除运算指令
(1.)乘法指令
(2.)除法指令
3.增量、减量指令
(1.)增量指令
(2.)减量指令
4.二-十进制调整指令
还有老师每讲一点内容就会在软件上实操,便于我们更好理解
希望能早日拿到实验箱,和老师一起实践



操作码及其含义.png
操作数要注意的点.png
指令中的符号约定.png
对累加器A进行逻辑操作.png
对累加器A进行逻辑操作2.png
双操作数的逻辑指令.png
加法指令.png
带进位加法指令.png
带错位减法指令.png
乘法指令.png
除法指令.png
二-十进制调整指令.png
数据传送类指令的注意事项.png
回复

使用道具 举报 送花

  • 打卡等级:偶尔看看I
  • 打卡总天数:12
  • 最近打卡:2023-12-18 15:13:58

4

主题

216

回帖

886

积分

高级会员

积分
886
发表于 2023-8-16 13:15:48 | 显示全部楼层
楼主对我们的免费公开课 认可/支持/给力,建议主动联系我们同事
=====提前获得 【免费+包邮送】的 STC32G12K128实验箱 或 STC8H8K64U实验箱
=====现在送的,都可以利用MCU自带的 硬件USB直接仿真,硬件USB直接下载

【免费+包邮】 送/申样/采购 可加 如下 QQ或微信联系
加STC华南区客服刘经理QQ: 3398500488 ;微信:18106296592  要求 【免费+包邮】 送, 还免费教仿真  
加STC华南区客服曹经理QQ:1933892258 ;微信:18106296595 要求 【免费+包邮】 送, 还免费教仿真
加STC华东区客服聂经理QQ:2593903262;微信:18106296598  要求 【免费+包邮】 送, 还免费教仿真
加STC西北区客服孙经理QQ: 1347154513 ;微信:18106296593  要求 【免费+包邮】 送, 还免费教仿真
加STC华北区客服石经理QQ: 1638975601 ;微信:19952583876  要求 【免费+包邮】 送, 还免费教仿真
加STC华中区客服唐经理QQ:2571301708 ;微信:18106296589 要求 【免费+包邮】 送, 还免费教仿真
加STC东北区客服张经理QQ:3141888640 ;微信:19952583265   要求 【免费+包邮】 送, 还免费教仿真
加STC西南区客服张经理QQ:3141888640 ;微信:19952583265   要求 【免费+包邮】 送, 还免费教仿真
工作时间:  8:30-12:00,13:00-17:30(周一 到 周五, 法定节假日除外)

【免费+包邮】 送/申样/采购传统电话热线:0513-55012928、0513-55012929、0513-55012966
工作时间:  8:30-12:00,13:00-17:30(周一 到 周五, 法定节假日除外)

回复

使用道具 举报 送花

2

主题

6

回帖

54

积分

注册会员

积分
54
发表于 2023-8-17 10:25:19 | 显示全部楼层
感谢老师对我学习笔记的认可
回复

使用道具 举报 送花

您需要登录后才可以回帖 登录 | 立即注册

本版积分规则

QQ|手机版|深圳国芯人工智能有限公司 ( 粤ICP备2022108929号-2 )

GMT+8, 2025-12-14 12:19 , Processed in 0.148376 second(s), 75 queries .

Powered by Discuz! X3.5

© 2001-2025 Discuz! Team.

快速回复 返回顶部 返回列表